SL400R240S-20

SL400R240S-20

螺丝材料:黄铜,摩擦最小
可逆剪切式螺栓
电压范围 1-36 kV
符合 IEC 标准 61238-1:2003 的要求
电缆接脚是双金属型,具最佳功能
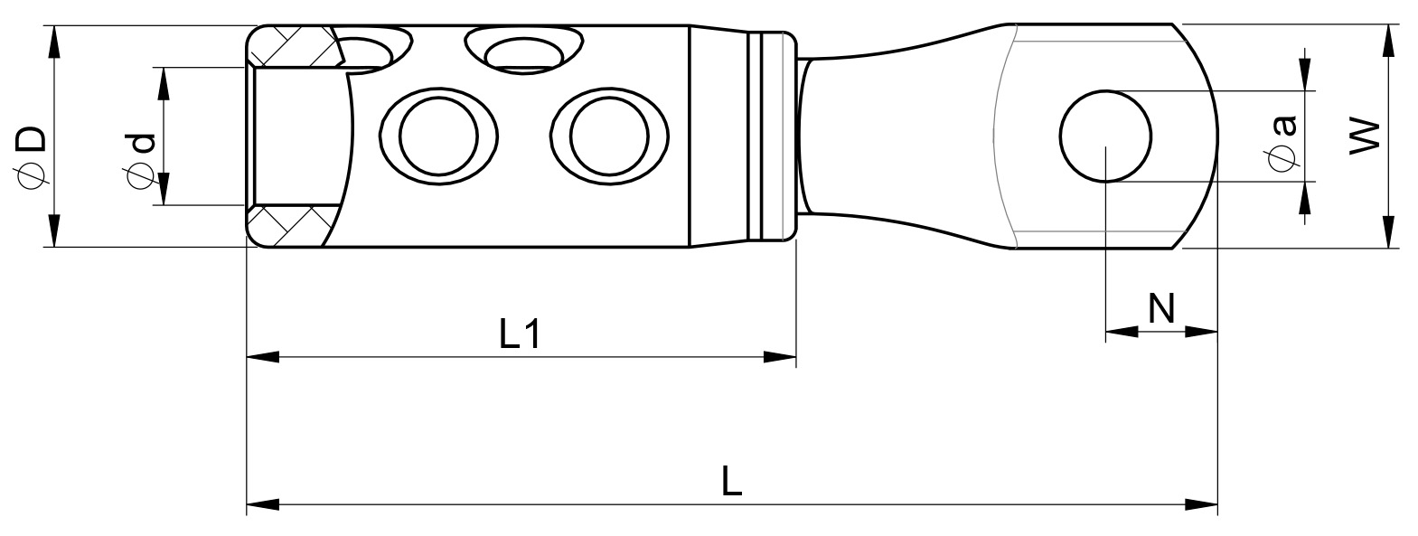
螺丝电缆接脚 1-36 kV,适合铝和铜 1 和 2 类电缆,板带一个M20孔。圆形电缆 300-400 mm²,扇形电缆 240 mm²。

详情

圆形面积扇形面积adTNL1LWst螺钉
300-4002402025.841,52110318241.5979.6M20
  • s = 剥线长度
  • t = 端子掌厚度
Art.nr: 7334-011000

资质下载

info@elpress.com.cn
技术支持:
传真:+86 10 64385279
info@elpress.com.cn
订购:
电话:+86 10 59796187
关注微信公众号
关注优酷公众号
本站使用百度智能门户搭建 管理登录
京ICP备2021020807号-2
Contact
ELPRESS
info@elpress.com.cn
TEL:+86 10 59796187
FAX:+86 10 64385279